2024年第十届全国大学生统计建模大赛,91吃瓜
第1届统计建模校校内选拔赛已于2024年5月22日上午在犀浦校区9号教学楼9136,2024年5月22日下午在犀浦校区3号教学楼30348,2024年5月30日下午在犀浦校区3号教学楼30425顺利举行。现将校级晋级省赛名单公示,四川赛区统计建模组委会将随机选取匿名作品进行复核与评议,最终晋级省赛名单以四川赛区公示为准。
公示时间为2023年5月30日至2023年6月3日(3个工作日)。若对公示内容有异议,请在公示期内以实名形式反映。
联系人:王沁
联系电话:13348889811
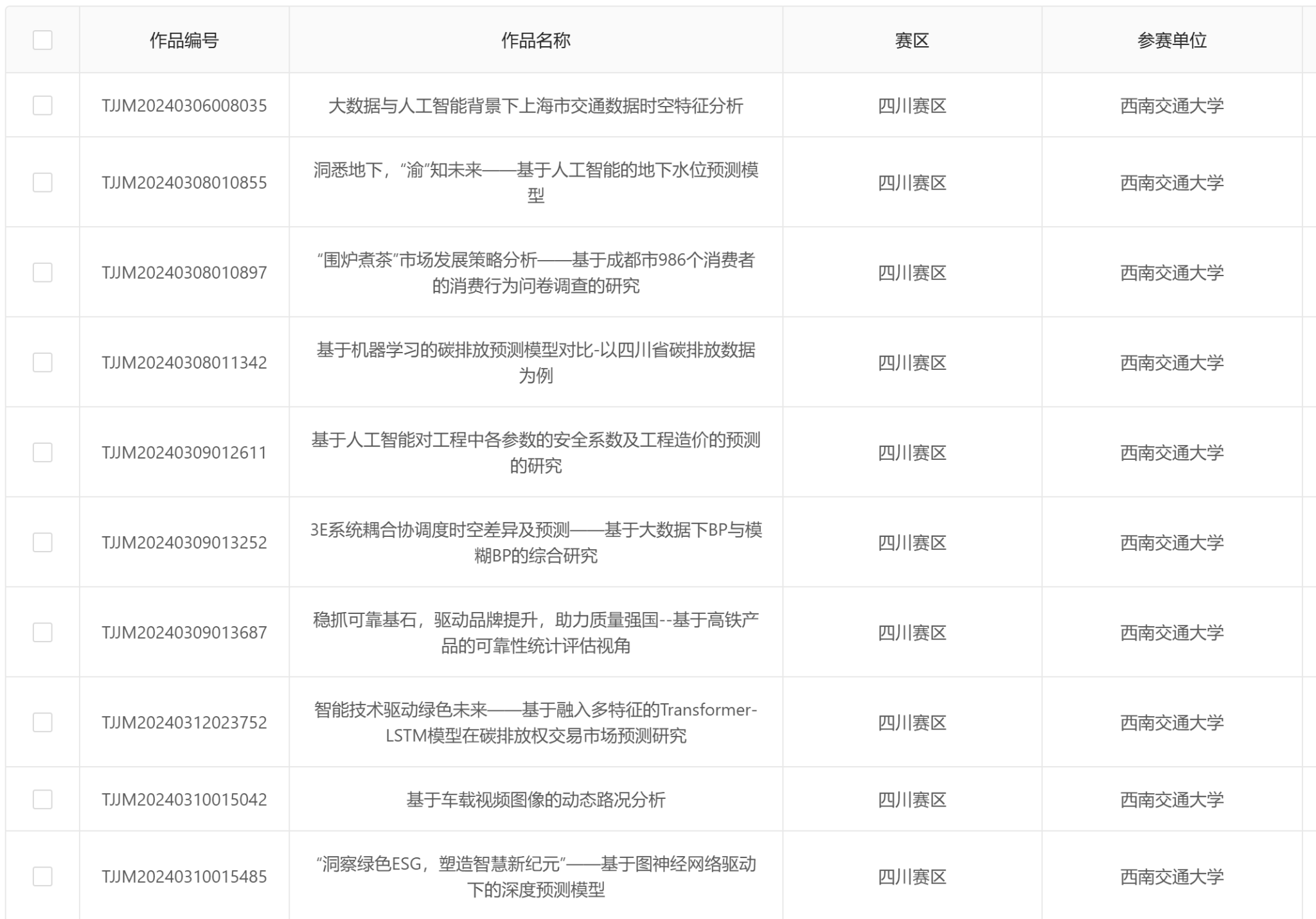
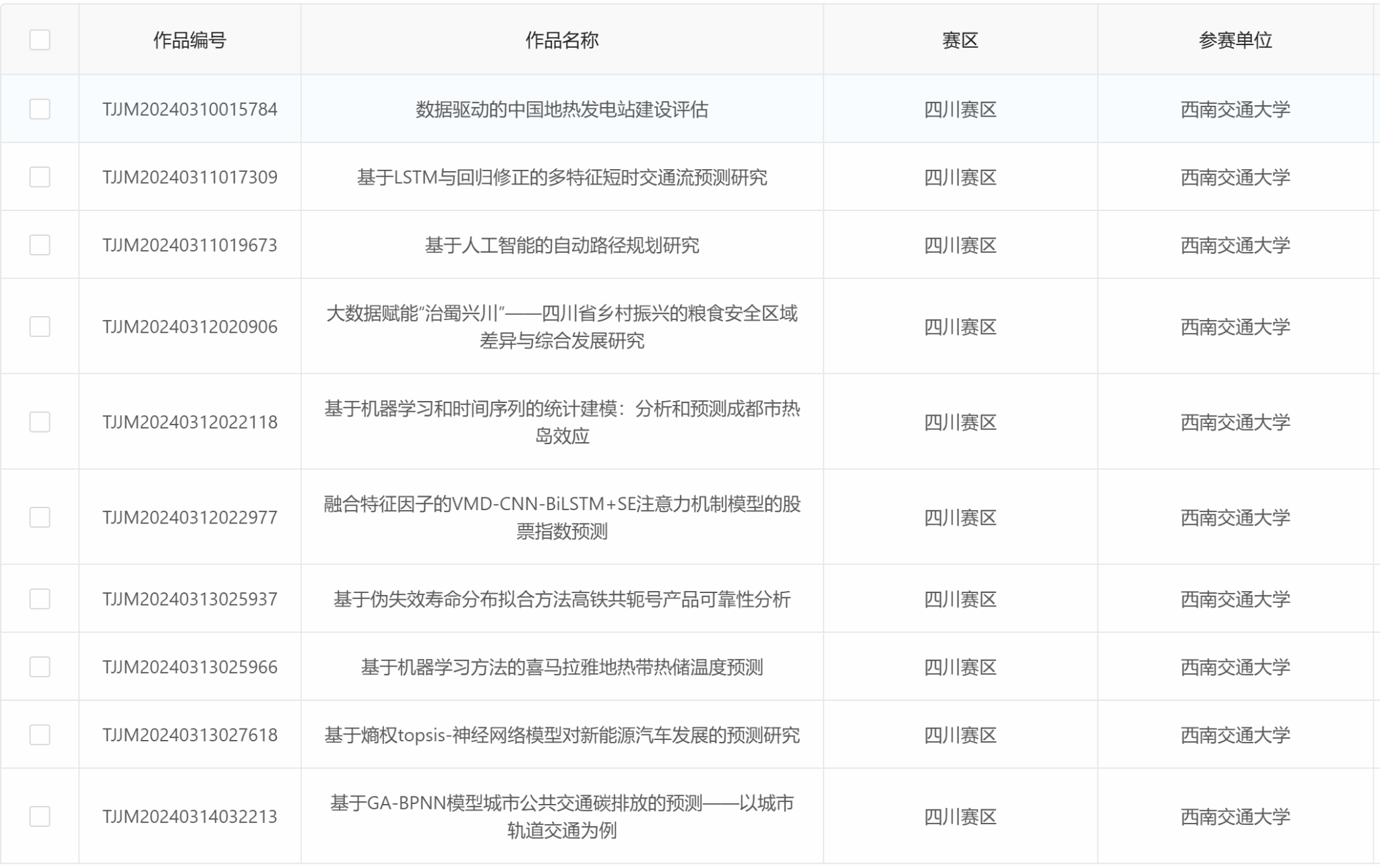
晋级队伍名单(本科生组+研究生组):


